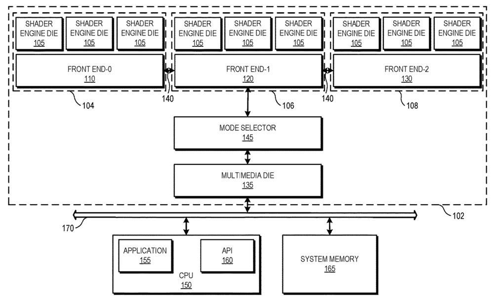
Unter der Woche ist ein AMD-Patentantrag (PDF) aufgetaucht, welcher einen interessanten Grafikchip als MultiChip-Konstruktion bestehend aus (mindestens) 13 Einzel-Chips zeigt. Jener Patentantrag wurde im Dezember 2022 eingereicht und diese Woche veröffentlicht, es handelt sich allerdings noch nicht um ein final erteiltes Patent. Die initiale Grafik zeigt dabei eigentlich schon fast alles, was AMD sich hierbei gedacht hat: Ein Grafikchip bestehend aus drei Front-End-Chips mit jeweils drei Shader-Engine-Chips zuzüglich einem Multimedia-Chip, welcher gleichzeitig wohl auch die Kontrollfunktion innezuhaben scheint. Dabei handelt es sich gemäß dem begleitenden Text auch wirklich um einen Chip zur Berechnung von Spiele-Grafik (explizit werden 3D-Grafik sowie DirectX 11/12 erwähnt) – und somit keine Konstrukt für HPC/AI-Aufgaben.
Laut Igor's Lab will Intel eine technische Ursache für die Stabilitäts-Probleme der Raptor-Lake-Prozessoren gefunden haben: Danach gab es einen Microcode-Fehler in der Implementierung des "Enhanced Thermal Velocity Boost" (eTVB) Features von "Raptor Lake", was dann zu einem zu aggressiven Verhalten dieser Boost-Funktionalität (und somit auch zu Stabilitäts-Problemen) führen konnte. Intel wird hierfür ein BIOS-Update zur Verfügung stellen, was die Mainboard-Hersteller nachfolgend in ihre BIOS-Versionen einbauen sollen. Gänzlich der komplette Grund für die Stabilitäts-Probleme von Raptor Lake kann dies allerdings nicht sein, da es eTVB durchgehend nur beim Core i9 gibt, Stabilitäts-Probleme teilweise jedoch auch von schnelleren Core i7 gemeldet wurden.
Root cause is an incorrect value in a microcode algorithm associated with the eTVB feature. Implication Increased frequency and corresponding voltage at high temperature may reduce processor reliability. Observed Found internally.
Impacted platforms Raptor Lake S, Raptor Lake Refresh S (CPUID 0xB0671)
Quelle: Intel, berichtet von Igor's Lab
Beim TechSpot hat man sich die Performance-Differenz zwischen 6- und 16-Kernern von Zen 3 im Vergleich des 2020er Launch-Reviews mit aktuellen Benchmarks angesehen. Hintergrund des ganzen ist der Punkt, dass der TechSpot bzw. Hardware Unboxed seinerzeit die Prognose getroffen haben, dass der Ryzen 5 5600X ausreichend zukunftssicher sein soll, trotz seiner "nur" 6 CPU-Kerne. Um diese Prognose nunmehr vier Jahre später nachzuprüfen, wurden diese Prozessoren erneut durch den Test unter nunmehr aktualisiertem Spiele-Portfolio geschickt. Dabei zogen die Zen-3-Modelle mit mehr CPU-Kernen etwas besser davon, wirklich beachtbare Differenzen zum früheren Performance-Ergebnis fielen allerdings nicht an. In der Summe kann die seinerzeitige Prognose somit als "eingehalten" bestätigt werden – selbst wenn dieser Zustand nicht ewig weitergehen und irgendwann auch die Stunde des 6-Kerner schlagen wird.
| FullHD/1080p, 1% low fps | 5600X | 5800X | 5950X |
|---|---|---|---|
| 2020: TechSpot Launch-Review zu Zen 3 | 100% | 105,7% | 108,8% |
| 2020: Durchschnitt aller Launch-Reviews zu Zen 3 | 100% | 106,4% | 110,9% |
| 2024: TechSpot Re-Test zu Zen 3 | 100% | 108,3% | 113,1% |
Von der ComputerBase kommt ein Re-Test des 2017er Grafikkarten-Duells von AMD Vega gegen nVidia Pascal, durchgeführt mittels Radeon RX Vega 64 gegen GeForce GTX 1080 Ti. Hierbei hat man sich somit jeweils die seinerzeitigen Spitzenexemplare eingeladen (die Radeon VII trat verspätet erst im Jahr 2019 an), wenngleich auch schon damals man diesen Test eher mit der (klar schwächeren) non-Ti-Version ausgeführt hätte, somit der GeForce GTX 1080. Im Duell mit der größeren Ti-Ausführung geht es für die AMD-Karte somit nicht darum, wer gewinnt, sondern eher wie sich die Performance-Abstände über die Zeit bzw. mit nunmehr immerhin 7 Jahre älteren Spiele-Titeln entwickelt haben. Hierbei zeigt sich durchaus noch einmal die Schlagkraft von AMDs Vega-Architektur, denn der Vorsprung des nVidia-Modells ging zwischen dem Launch-Review der ComputerBase im Jahr 2017 von +31,1% unter der WQHD-Auflösung auf mit den neuen Benchmarks nur noch +23,5% doch bemerkbar zurück.
| WQHD/1440p | Vega64 | 1080Ti | Diff. |
|---|---|---|---|
| 2017: ComputerBase Launch-Review zu Vega64 | 58,1% | 76,2% | +31,1% |
| 2017: Durchschnitt aller Launch-Reviews zu Vega64 | 97,1% | 125,9% | +29,6% |
| 2024: ComputerBase Re-Test | 34 fps | 42 fps | +23,5% |
Tom's Hardware haben mit AMD im Rahmen der Computex über die Performance der kommenden Zen-5-Prozessoren gesprochen, speziell bezogen auf die Spiele-Performance von Zen 5 im Vergleich zu den X3D-Modellen von Zen 4. Hierzu traf der AMD-Mitarbeiter die bemerkenswerte Aussage, wonach bei der Spiele-Performance Zen 4 X3D weiterhin (leicht) vor Zen 5 bleiben wird – natürlich nur bezogen auf die normalen Zen-5-Modelle ohne 3D V-Cache. Da Ryzen 7000X3D auf die normalen Ryzen-7000-Modelle ca. 16-18% oben drauf legt (den unglücklichen Fall des Ryzen 9 7900X3D ignorierend), bedeutet dies wohl, dass der Performance-Zuwachs von Ryzen 9000 im Spielefeld leicht unterhalb dieser Maßgabe herauskommt. Dies wäre gemäß AMDs IPC-Angabe zu Zen 5 allerdings sehr wohl passend, grob dürfte Ryzen 9000 somit die Spiele-Performance von Intels Raptor-Lake-Refresh erreichen.
It's faster than the competition in our tests. X3D is still the king of the hill, but by a much smaller margin than typically between X3D and non-X3D. So a 7800X3D would be faster than 9700X, but maybe not by as much as you would expect.
Quelle: AMDs Donny Woligroski gegenüber Tom's Hardware, veröffentlicht am 11. Juni 2024
Leaker Kopite7kimi @ X hat nun endlich die grundsätzlichen Hardware-Daten der Consumer-Chips von nVidias "Blackwell"-Generation bekanntgegeben, denkbarerweise basierend auf finalen Informationen beispielsweise nach den ersten abgeschlossenen Tape-Outs. Die Gerüchteküche hatte sich vorab zwar schon im Fall der beiden größeren Chips an den aktuellen Stand herangerobbt, musste dafür aber dennoch den einen oder anderen Irrweg nehmen – was nunmehr hoffentlich vorbei ist. Gegenüber dem letzten Stand ändert sich nur etwas dort, wo noch keine Gerüchtedaten vorlagen und man sich daher mit Annahmen weiterhelfen musste. Jene Annahmen lagen beim GB206-Chip richtig, bei den GB205- und GB207-Chip hingegen falsch: Insbesondere die GB205-Hardware ist nochmals etwas kleiner als bislang angenommen, womit sich nunmehr zumindest eine solide Erklärung der Namenswahl ergibt.
GB202 12*8 512-bit GDDR7
GB203 7*6 256-bit GDDR7
GB205 5*5 192-bit GDDR7
GB206 3*6 128-bit GDDR7
GB207 2*5 128-bit GDDR6
Quelle: Kopite7kimi @ X am 11. Juni 2024
